Slide 1
Slide 1
Aperture Matching Systems
Aperture Matching Systems
Send a request
/ Description

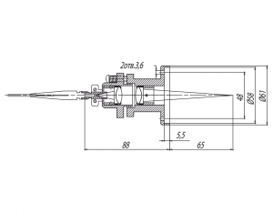
ACHROMATIC FIBER ADAPTER AFA


Designed to match apertures of an optical fiber and monochromator in order to reduce stray light and optimise light throughput.

Is mounted on the entrance slit of the M266, M833, and MSA-130 monochromators or on the Filter Wheel.

  • Spectral range: 200nm-2000nm;
  • Contains two achromatic objectives and SMA-905 connector;
  • Provides axial alignment of the fiber end and adjustment of the distance between objectives, which allows adjusting output aperture ratio F# within the range from 1:3.5 to 1:8.

 

ACHROMATIC MIRROR CONDENSER PS-4


Intended to collect light from a light source to the mononochromator input slit. Contains achromatic mirror optics.

  • Spectral range: 190nm – 2000nm
  • Light collection angle: 14°
  • Aperture ratio F#: 1 : 3.1
  • Front/back flange focal distance: 15mm –75mm (from the PS-4 housing)
  • Magnification 0,75X -1,3X
  • Linear field of view in the object space: 12 mm
  • Height of optical axis: adjustable 65 mm – 160 m


 

MECHANICAL FIBER ADAPTER FA-4


Contains SMA-905 connector and four mounting holes for fixing on a monochromator input/output slit

Possibility of manual XY alignment of the fiber end relative to the monochromator slit



/ feedback